



「エレキギターやベースのブリッジにおいて、重要なのは『トーン』です。いかに重量を増やさずに、より豊かなトーン、安定性、サステイン、そして細かな調整機能を手に入れるか。それこそがFull Contact Hardware(フルコンタクト・ハードウェア)の真髄です」 — ジェフ・バビッツ

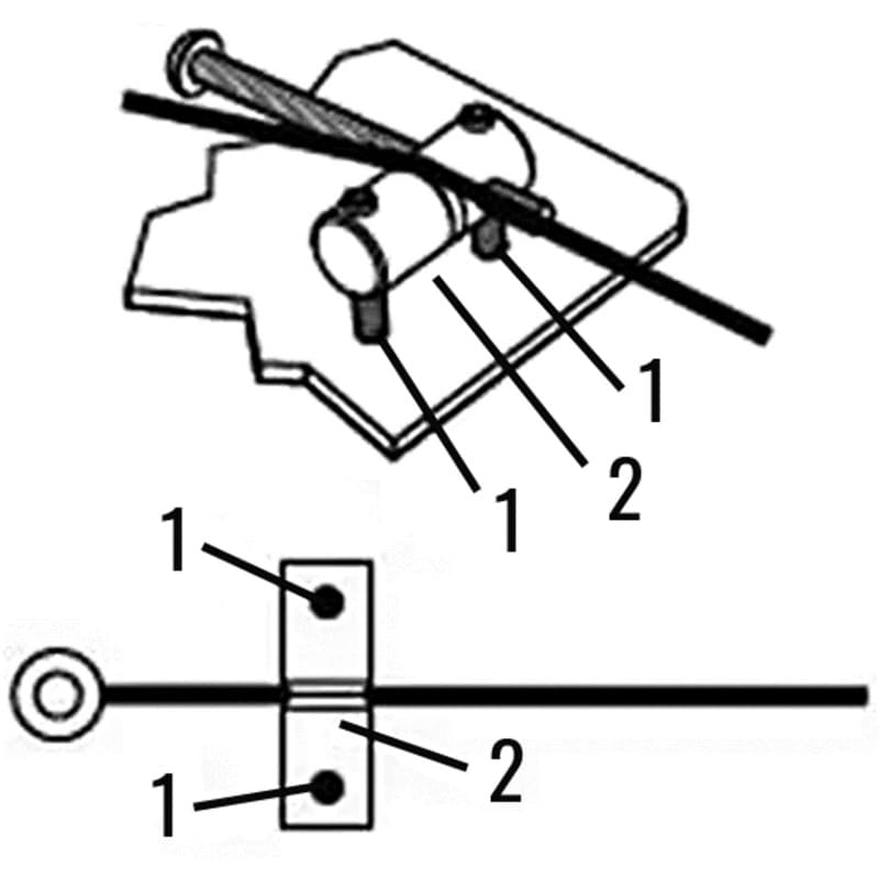
1. 一般的なサドルは2本の小さなイモネジで支えられています。
2. サドル下に生じる隙間により、トーンやサステインの伝達効率が著しく低下してしまいます。

1. eCAMサドルは、点ではなく面で支えることによいり、圧倒的なサステインとトーンを実現。
2. 隙間がないことにより、どのような弦高設定でも弦振動をロスなくボディへ伝えます。
FCH(フルコンタクト・ハードウェア)は、従来のサドルよりも精密な弦高調整、オクターブ調整が可能。
各eCAMサドルに弦高ロック機能を備え、激しい振動にさらされても設定した弦高を確実に維持します。
不適切な投稿として報告しますか?
理由
ご協力ありがとうございました
投稿を削除しますか?
投稿されたレビューを削除しました。
商品ID:199337
¥24,800(税込)
744ポイント(3%)内訳
通常ポイント
ポイント3倍キャンペーン
クーポン
合計
評価:
カテゴリーから探す
ブランドから探す
ブランド一覧を見るアフターサービス
© Sound House



お取寄せ 



すべてのレビューを見る